ARL-V111

Доступен для скачивания
краткий каталог продукции:

ARL-V111
Цена:  29047 руб.
Вибрационный датчик уровня ARL-V111 предназначен для контроля уровня не склонных к сильному налипанию жидкостей (плотностью не менее 0,7 г/см³) и сыпучих материалов (порошок и гранулы диаметром не более 10 мм, плотностью не менее 0,1 г/см³) Особенности:
  • Монтаж на емкости сверху или сбоку
  • Высокая адаптивность: различные электрические параметры измеряемой среды не влияют на измерение
  • Не требуется техническое обслуживание благодаря отсутствию подвижных частей механизма
  • Не требуется предварительная настройка на месте
  • Магнит для калибровки в комплекте. Чтобы осуществить калибровку, приложите магнит к метке на корпусе прибора
  • Электрическое соединение: разъем М12, 5-pin (ответная часть в комплекте)
  • Длина кабеля: 2 м
Принцип действия:Вибрационный датчик уровня размещается на емкости (сверху или сбоку) на требуемой для выполнения измерений высоте.
Зонды датчика вибрируют под пьезоэлектрическим воздействием на определенной механической резонансной частоте. При помещении зондов в
среду возникает затухание колебаний, которое электронно регистрируется, и срабатывает выходное реле
Области применения:
  • Производство строительных материалов (цемент, песок, сухие смеси)
  • Пищевая промышленность (мука, соль, сахар, чай, кофе, крупы, орехи, корма для животных, вода, растительное масло, солевые и спиртовые растворы)
  • Полимерная промышленность (полимерный гранулят и пр.)
  • Химическая промышленность (минеральные удобрения, известь, химические реагенты, моющие средства)
  • Агропромышленный комплекс (комбикорм, зерно, лузга)
  • ЖКХ (вода, конденсат)
Для установки датчиков по месту эксплуатации используются бобышки, например, БП-­А-G1­-30.
Для фланцевого присоединения используется фланец монтажный, который снизу поджимается гайкой (фланец и гайка приобретаются отдельно).
Для питания датчиков используются блоки питания, например, БП67, БП97, DR
Технические характеристики:
Параметр Значение
Свойства рабочей среды
­ – жидкости
­ – порошок и гранулы
Вязкость 1...10000 сСт, плотность ≥ 0,7 г/см³
Диаметр ≤ 10 мм, плотность ≥ 0,1 г/см³
Реле
Реле ~4 А, 250 В; =4 А, 60 В,
переключающий контакт
Быстродействие2 с при покрытии средой
3 с при отсутствии среды
Питание=24 В
Потребляемая мощность, не более0,25 Вт
Степень пылевлагозащитыIP67
Температура рабочей среды−10...+80°C
Давление рабочей среды, не более4 МПа
ПрисоединениеРезьбовое G1"
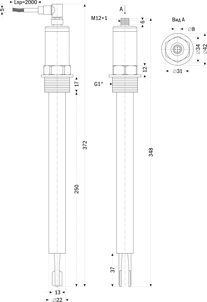
Длина зонда250 мм
Электрическое соединениеРазъем М12×1, 5­-pin
Длина кабеля
2000 мм
погрешность длины кабеля ±3%
Материал корпуса прибораНержавеющая сталь
Материал вибрационного зондаНержавеющая сталь
Габаритные размеры372×∅ 42 мм
Вес 425 г

Габаритные размеры

Версия: 2025-09-07-СДГ
Документ Дата обновления
Паспорт на ARL-V101, ARL-V111, ARL-V103 08.09.2025